Trzykołowy motocykl Kawasaki na szkicach patentowych. Tak ma działać dwukołowa przednia oś
Yamaha Niken będzie miała niedługo nowego brata. Wyciekły szkice patentowe, na których widać, że Kawasaki intensywnie pracuje nad dwukołową przednią osią w motocyklu.
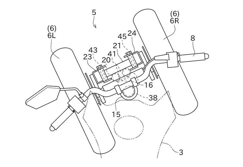
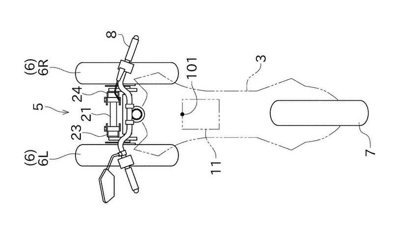
Piaggio MP3, Yamaha Niken, czy Kymco CV3. Teraz wnioski patentowe, dotyczące dwóch kół z przodu motocykla, złożyło Kawasaki. Co prawda patent koncentruje się tylko na przednim podwoziu, zainstalowanym w konwencjonalnej kolumnie kierownicy. Jednak sam fakt pojawienia się takich rysunków pokazuje, nad czym pracują teraz "zieloni".
Motocykle trzykołowe oferują większą stabilność i przyczepność, które przydają się na śliskiej nawierzchni lub w przypadku mniej doświadczonych motocyklistów. Patent Kawasaki nasuwa podejrzenia, że producent pracuje nad dwukołowym rozwiązaniem z przodu, które w łatwy sposób można byłoby dostosować do każdego motocykla. Systemy w Nikenie i w MP3 mają rozbudowane systemy przechylania, złożone z dwóch równoległych belek, które poruszają się poprzecznie wzdłuż motocykla. Trudno to sobie wyobrazić na podstawie opisu słownego, dlatego tutaj jest film, który wyjaśnia to na przykładzie odsłoniętego zawieszenia Nikena:
W przypadku Kawasaki system pochylania kół i przednie "przeguby" są umieszczone na dole zestawu przednich widelców. Dzięki temu dwa koła pochylają się, jakby były jednym elementem i przyjmują ten sam kąt pochylenia, co reszta motocykla. Wadą jest to, że w projekcie Kawasaki system ten znajdowałby się przed elementem resorującym, co mogłoby skutkować osobliwym zachowaniem przy dużej masie tego układu.
Oto odnośniki do szkiców patentowych Kawasaki:


Komentarze 1
Pokaż wszystkie komentarzeJak wyjasnicie zwrot " ...poruszają się poprzecznie wzdłuż motocykla." bo choć wiem jak sa te systemy zbudowane to gdybym nie wiedział nie potrafiłbym sobie po tym opisie tego wyobrazic :)
OdpowiedzMasz rację. Jeżeli masz pomysł, jak to opisać czytelniej, do skontaktuj się ze mną: tomek@scigacz.pl. Tutaj tłumaczą to na filmie, ale opisanie tego w jednym, dwóch zdaniach jest niełatwe. Może po prostu wstawię film i tyle? https://www.youtube.com/watch?v=m3x3rEcfAgk
Odpowiedz