Motocykl elektryczny z fa³szywym silnikiem spalinowym dla sceptyków. Yamaha zg³osi³a szalony patent
Yamaha zgłosiła patent, który miałby przyciągnąć sceptyków do motocykli elektrycznych. Producent wymyślił, że w motocyklach elektrycznych mógłby montować mały fałszywy silnik spalinowy. Ten generowałby hałas i wibracje, żeby motocykliści nieprzekonani do elektryków mogli poczuć się jak na maszynach z tradycyjnym napędem. Jak działa pomysł japońskiego producenta?
Elektromobilność jest promowana głównie z dwóch powodów - pojazdy z napędem na prąd są bardziej przyjazne dla środowiska i nie emitują hałasu. To drugie sprawia jednak, że unikają ich osoby, które kochają posłuchać dźwięku silnika. Dlatego Yamaha zgłosiła patent napędu elektrycznego, w którym dodano mały silnik imitujący motor spalinowy. Ten ma przypomnieć dobre czasy.
Reklama
Kalendarz dla motocyklisty na rok 2026 Gwiazdy MotoGP.
Duży 42x30 cm. 79 zł WYSYŁKA GRATIS!
Kalendarz motocyklowy na rok 2026 ścienny, przedstawiający najważniejszych bohaterów tego sezonu MotoGP. Marc Marquez, Jorge Martin, Johann Zarco, Raul Hernandez, Fabio Quartararo, Franco Morbidelii, Pedro Acosta, Pecco Bagnaia, Marco Bezzecchi, Alex Marquez i inni w obiektywnie Łukasza Świderka, polskiego fotografa w MotoGP
KUP TERAZ. WYSY£KA GRATIS »
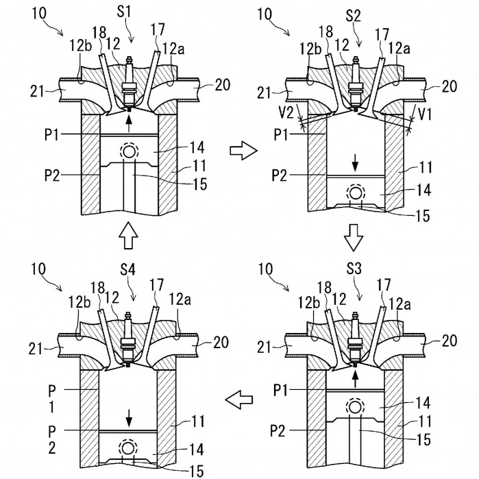
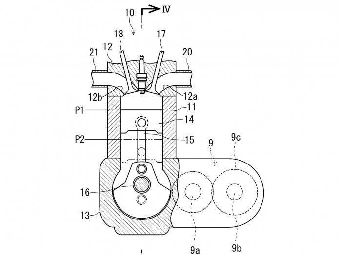
Sam opis brzmi trochę tak, jakby producent zapomniał, że do prima aprilis zostało jeszcze trochę czasu. Czytamy w nim, że czterosuwowy silnik generuje dźwięk układu dolotowego i wydechowego oraz wibracje. Kierujący może więc poczuć ekscytację, dzięki temu, że motocykl elektryczny jednak będzie wibrował i wydawał dźwięki charakterystyczne dla jazdy motocyklem spalinowym. Różnica jest oczywiście taka, że fałszywy, jednocylindrowy silnik spalinowy będzie również napędzany elektrycznie.
W opisie czytamy między innymi, że "Kierujący pojazdem, który jest napędzany wspomnianym silnikiem tłokowym, czuje ekscytację, doświadczając dźwięków i wibracji generowanych przez ruchy manetką gazu." W praktyce nie wiadomo jednak, jak mógłby brzmieć taki silnik, który jest przecież pozbawiony jednej z rzeczy kluczowych dla silników spalinowych, a mowa oczywiście o procesie spalania.
W kwestii przyciągania tzw. "petrolheadów" na elektryczną stronę mocy spore doświadczenie mają już producenci samochodów. Na przykład Hyundai opracował skrzynię N DCT, która sprawia, że w samochodzie elektrycznym IONIQ 5 N można zmieniać biegi jak w aucie spalinowym. Auto ma nawet tryb driftu. Skrzynia N DCT imituje zachowanie 8-stopniowej automatycznej skrzyni biegów, wyposażonej w łopatki.
Wielu producentów stosuje również różne systemy imitacji dźwięków silnika spalinowego i układu wydechowego. W przypadku samochodów jest to jednak łatwiejsze i możliwe do uzyskania bez niepokojenia osób z zewnątrz, które liczą, że auto elektryczne będzie ciche. Odgłosy silnika spalinowego są wydawane przez głośniki zamontowane wewnątrz auta. Producenci motocykli będą musieli się bardziej wysilić, co pokazuje patent Yamahy.







Komentarze
Poka¿ wszystkie komentarze