Motocykle Ducati ze zautomatyzowaną skrzynią biegów. Pierwsze patenty pojawiły się w sieci
Choć Ducati rzadko podąża za modą, to najnowsze szkice patentowe wskazują, że Włosi pracują nad zautomatyzowaną skrzynią biegów. Rozwiązanie może być podobne do tego, które oferuje Honda w swoim systemie E-Clutch. Producent planuje wprowadzić je z myślą o motocyklach sportowych.
Wygląda na to, że zautomatyzowane skrzynie biegów to next big thing w branży motocyklowej. Quickshiftery na dobre zadomowiły się już nawet w budżetowych jednośladach. Z kolei przy skrzyni DCT trwa tylko Honda i żaden z producentów nie podjął się zadania zbudowania konkurencyjnego rozwiązania. Pomysł na skrzynie zautomatyzowane jest nieco prostszy do wykonania i tańszy w produkcji, co pokazują ceny motocykli japońskich producentów.
Reklama
Te motocykle najlepiej sprzedawały się w ubiegłym roku
Zobacz nowości na sezon 2026 »
Motocykle tej marki były na pierwszym miejscu sprzedaży w Polsce! Na rok 2026 przygotowali nowe modele, które mają być jeszcze większymi przebojami tego sezonu. Zobacz te nowości i przetestuj je podczas dni otwartych
ZOBACZ NAJNOWSZE MODLE NA 2026 »
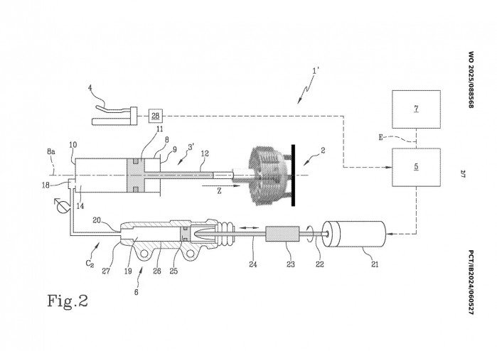
Szkice patentowe Ducati przedstawiają konwencjonalne sprzęgło z elektromechanicznym sterownikiem, który może samodzielnie uruchamiać i dezaktywować sprzęgło. Całość może działać podobnie jak w przypadku E-Clutch. Rysunek przewiduje bowiem pozostawienie tradycyjnej klamki sprzęgła i na dodatek nie ma tu sterowania elektronicznego. Zamiast tego Ducati pozostawiło system hydrauliczny.
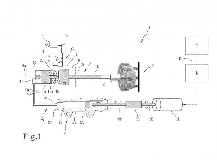
Jest też drugi szkic, na którym widać klamkę sprzęgła ze sterowaniem elektronicznym. System jest na tyle zaawansowany, że pomimo automatyzacji pozwala na używanie wspomagania startu - czyli launch control. W opisie Ducati wspomina o tym, że system jest zaprojektowany z myślą o motocyklach sportowych. Tym samym producent mógłby narobić sporo zamieszania w wyścigach Superbike i Supersport, ale najpierw musiałby spełnić wymagania homologacji, a więc udostępnić swoje rozwiązanie w motocyklach produkcyjnych.
Póki co musimy zadowolić się szkicem patentowym, na którym widać sprzęgło. Choć liczymy, że Ducati zaprezentuje swoje rozwiązanie w tym lub przyszłym roku, żeby szybko dołączyć do konkurencji, to równie dobrze może ono nigdy nie trafić do sprzedaży. W 2020 r. po sieci krążyły szkice skrzyni zbliżonej do DCT, ale ta nigdy nie pojawiła się w ofercie.







Komentarze
Pokaż wszystkie komentarze