2008 Honda VFR opatentowana
Nowa Honda VFR 1000 będzie nowo¶ci± pod wieloma względami. Nie chodzi bowiem tutaj tylko o zupełnie nowy litrowy silnik. Nie chodzi także o now± stylistykę pojazdu i trochę nowinek technicznych. Chodzi przede wszystkim o now± ramę. Rozwi±zanie konstrukcyjne jest zdaniem Hondy tak nowatorskie, że celowym uznano opatentowanie go.
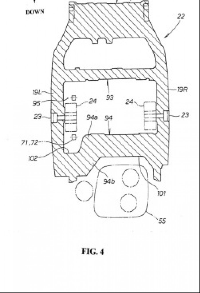
Nowy sportowy turystyk dysponował będzie podwoziem złożonym z dwóch oddzielnych sekcji. Elementem ł±cz±cym obie sekcje oraz zapewniaj±cym stabilno¶ć całego pojazdu będzie silnik. Przednia czę¶ć ramy obejmuj±ca główkę, przykręcona będzie do silnika w trzech miejscach. Nie ł±czy się ona jednak, tak jak w tradycyjnych ramach z osi± wahacza. Tylna sekcja ramy, to odrębna aluminiowa struktura, w której znajd± się mocowania wahacza, amortyzatora oraz rama pomocnicza zadupka.
Co bardzo ciekawe patent nie precyzuje jeszcze, czy w motocyklu znajdzie się cztero, czy pięciocylindrowy silnik! Rzućcie tylko uważnie okiem na zał±czone szkice z dokumentacji patentowej. Czyżby zatem odrobina do¶wiadczeń z MotoGP w drogowym wydaniu? Czas pokaże.














Komentarze 4
Pokaż wszystkie komentarzeNo panowie z hondy chyba się troche zagalopowali z tym patentowaniem, takie rozwi±zanie prezentowała i była z tego też, a jakże dumna angielska firma, mianowicie Vincent HRD, Zaprezentowała to ...
OdpowiedzA czy już co¶ wiadomo na temat daty wej¶cia na rynek i ceny?
OdpowiedzTroche niepokoiloby mnie zespolenie ramy i wahacza silnikiem, ciekawe czy się przyjmie moze byc ciekawie pozdro
Odpowiedzfaktycznie o ile dobrze te rysunki czytam, to jest zarówno opcja 4 jak i 5 cylindrów. Jak wejdzie wersja z 5 cylindrami to będzie niezł± egzotyk±:) fajnie!
Odpowiedz