tr?id=505297656647165&ev=PageView&noscript=1 Zdjęcia: tloki - Ferrari pracuje nad motocyklem
NAS Analytics TAG
NAS Analytics TAG
NAS Analytics TAG

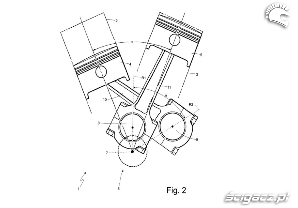
Tloki

[2/2]

Zobacz również

Galerie Foto

Uwaga Kopiowanie, reprodukowanie zamieszczonych materiałów w jakikolwiek sposób w całości lub w części bez uprzedniej pisemnej zgody Ścigacz.pl jest zabronione.

Kategoria: gallery wiadomosci 2014 10 02 Ferrari pracuje nad motocyklem tloki jpg

Komentarze
Pokaż wszystkie komentarze
Dodaj komentarz

Publikowane komentarze są prywatnymi opiniami użytkowników portalu. Ścigacz.pl nie ponosi odpowiedzialności za treść opinii. Jeżeli którykolwiek z komentarzy łamie regulamin , zawiadom nas o tym przy pomocy formularza kontaktu zwrotnego . Niezgodny z regulaminem komentarz zostanie usunięty. Uwagi przesyłane przez ten formularz są moderowane. Komentarze po dodaniu są widoczne w serwisie i na forum w temacie odpowiadającym tematowi komentowanego artykułu. W przypadku jakiegokolwiek naruszenia Regulaminu portalu Ścigacz.pl lub Regulaminu Forum Ścigacz.pl komentarz zostanie usunięty.

Zdjęcia w galerii

na górę