Jazda motocyklami w grupie może być łatwiejsza. Najpierw Harley, a teraz Bosch patentuje system wspomagania
W sieci pojawiły się informacje dotyczące ciekawego patentu firmy Bosch, który ma ułatwić życie motocyklistom podróżującym w grupach. Podobny pomysł pojawił się w 2019 r. i pochodził od marki Harley-Davidson. Jakie rozwiązanie proponuje niemiecki gigant?
Przedstawiony w 2019 r. system Harleya był oparty na połączonym systemie radarów, laserów i kamer, które miałyby automatycznie wychwytywać inne motocykle i dostosowywać prędkość, odległość oraz położenie na drodze. Mówienie tu o jeździe w grupie jest oczywiście dużym uproszczeniem, bo system za każdym razem pytałby użytkownika, czy chce dostosować parametry jazdy do poprzedzającego jednośladu.
Reklama
Kalendarz dla motocyklisty na rok 2026 Gwiazdy MotoGP.
Duży 42x30 cm. 79 zł WYSYŁKA GRATIS!
Kalendarz motocyklowy na rok 2026 ścienny, przedstawiający najważniejszych bohaterów tego sezonu MotoGP. Marc Marquez, Jorge Martin, Johann Zarco, Raul Hernandez, Fabio Quartararo, Franco Morbidelii, Pedro Acosta, Pecco Bagnaia, Marco Bezzecchi, Alex Marquez i inni w obiektywnie Łukasza Świderka, polskiego fotografa w MotoGP
KUP TERAZ. WYSYŁKA GRATIS »
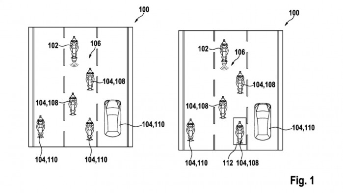
Co proponuje Bosch? Jak informuje system Rideapart, Bosch idzie krok dalej i wykorzystuje kontroler, który pozwala liderowi wyznaczyć pojazdy należące do grupy tak, żeby wszyscy jechali z jednakową prędkością i w jednakowych odstępach. Dzięki temu prowadzący będzie mógł skupić się na drodze, zamiast ciągle zerkać w lusterko i upewniać się, że grupa jest w komplecie.
W opisie patentu czytamy, że system ma być otwarty na wszystkie typy pojazdów, a więc nie tylko motocykle, ale również samochody, quady itp. Prowadzący byłby pytany, czy dany pojazd należy do grupy i musiałby potwierdzić lub zaprzeczyć. Każdy z członków grupy byłby oznaczony innym kolorem, a pojazdy spoza niej mogłyby być oznaczone np. na szaro lub czarno. Odpowiednia grafika wyświetlałaby stan grupy na wyświetlaczu motocykla osoby prowadzącej.
Oczywiście taki patent najlepiej sprawdzi się podczas jazdy na drogach szybkiego ruchu, gdzie mamy długie proste, ponieważ w przypadku krętych tras dochodzi bardzo wiele zmiennych. Wśród nich są m.in. typy motocykli jadących w grupie, różny stan techniczny jednośladów oraz ich opon, a także różnice w ustawieniach zawieszeń, zużyciu hamulców i wreszcie w poziomie wyszkolenia oraz doświadczenia kierujących.
Najważniejszą kwestią jest oczywiście to, że pozostałe motocykle też musiałyby być wyposażone przynajmniej w technologię radarową, a najlepiej w podobne rozwiązanie od Boscha. Na razie jest to jedynie patent, więc nie wiadomo, czy taki system kiedykolwiek wejdzie do produkcji.







Komentarze
Pokaż wszystkie komentarze